It looks like Samsung might be working on yet another type of foldable phone, this time with four foldable panels. The company recently filed a patent titled “Electronic Device Including Bendable Display” on the World Intellectual Property Organization (WIPO) website.
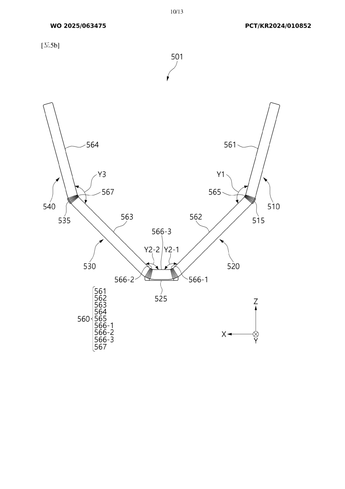
The patent features several design schematics for the quad-fold phone that show four panels connected using three hinges. There are images depicting the device in unfolded and folded states, with different possible configurations for the latter. The hinge connecting the second and third panels looks more complex than the other two hinges. It seems Samsung intends for the phone to fold completely inwards, which should protect the screen from drop impact.


Of course, this is still just a patent and may not necessarily translate into an actual product. However, it shows that Samsung is nowhere near finished with exploring the possibilities for foldable smartphones, so we might be seeing more foldables in the future.
Huawei has beaten Samsung to the punch by releasing a tri-fold smartphone. Samsung has yet to release its own tri-fold smartphone, the Samsung Galaxy G Fold, and it’s rumored that the phone will only be available in Korea and China.
(Source: Android Central)
Follow us on Instagram, Facebook, Twitter or Telegram for more updates and breaking news.
